PWI UAE PWI UAE PWI UAE
PWI UAE PWI UAE
PWI UAE PWI UAE PWI UAE
[ Home page ] [ About ] [ Contact us ]
Skip Navigation LinksHome page --> Weighing System --> P-GU CRANE SCALE with REMOTE-CONTROL
Weighing Systems || P-GU CRANE SCALE with REMOTE-CONTROL

Features:

 

●Special design: Used under high temperature environment. Especially in casting industry.

●Multi-weighing units:
Kg, lb, N are selectable, generally kg are default unit.

● Multi-function operation:
Tare
; Zero; Auto zero tracking; Total; Hold; Overload warning and record, Calibration through remote controller,etc functions.

● User-friendly design:
Cast aluminum housing for maximum protection; Large red 5 digit LED display (digit height 30mm); Gravity compensation; Safety factor up to 7 times capacity; Battery Operated with low battery indication; Automatic turn off , power-saving function.

MAIN TECHNICAL DATA

Standard

According to OIML class III

Display

30mm (1.2'') 5digits LCD/LED

Zero Range

4% F.S.

Tare Range

20% F.S.

Stable Time

≤10 seconds

Overload Indication

100% F.S. + 9e

Max. Safety Load

150% F.S.

Ultimate Load

700% F.S.

Battery Life

≥70 hours

Battery Type

Fully sealed Lead-Acid battery, 6V/7Ah

Adapter

DC9V/1000mA

Operating Temp.

- 10°C ~ + 40°C

Operating Humidity

≤85% RH under 20

Remote Controller Distance

Min. 15m

Battery of Remote Controller

UM-4 SIZE AAA , 1.5Vx2

MODEL

Max Cap(kg)

Min. weigh (kg)

Division (kg)

Total display counts (n)

P-1-GU

1000

10

0.5

2000

P-2-GU

2000

20

1

2000

P-3-GU

3000

20

1

3000

P-5-GU

5000

40

2

2500

P-10-GU

10000

100

5

2000

P-15-GU

15000

100

5

3000

Min distance between scale and high temperature

1000°C

1200°C

1400°C

1600°C

1.6m

1.8m

2m

2.2m

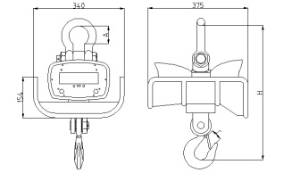
MODEL

A(mm)

B(mm)

C(mm)

H(mm)

N.W

P-1-GU

100

20

40

600

14kg

P-2-GU

100

20

40

600

14kg

P-3-GU

130

20

45

720

24kg

P-5-GU

145

20

60

850

44kg

P-10-GU

170

25

85

900

60kg

P-15-GU

170

25

85

900

60kg

Copyright © 2006 - 2012. PWI UAE. All rights reserved.