Features:
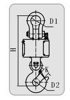
● Steel housing scale body, high-tension shackle and hook,
● Indicator packed in portable box, easy to operate outdoors.
● Internal clock and calendar
● Weighing data save protection in case of power off.
● keyboard calibration, easy to operate.
● Power saving mode, turn off automatically after 1 hour with no operation.
● Gathering up to data records of 2000 weight records can be sorted,
searched and printed.
● Micro-printer in indicator.
● RS232 optional
|
 |